QUMI系列具备的USB直读、2.35:1影院级宽屏画面比例、自带2GB内存等卓越功能也在QUMI Q6身上得到了延续,使得Q6在外观和性能上“内外兼修”。儿童节送给孩子一台QUMI Q6微投,不仅可以为孩子投出多彩震撼的童话视界,还可以给全家带来更多的欢声笑语,最重要的是不必担心看动画片、玩游戏会损伤孩子的眼睛,绝对是儿童节健康、酷炫的惊喜礼物。…详情>>
2016年底,LG在CES消费电子展上发布了Minibea系列投影机,包含三款最新机型(PH550、PW1000 和 PW1500)全部配备蓝牙和 Wi-Fi 连接功能,带来无与伦比的连接自由度和观看便利性。新产品不仅沿袭了前代 Minibeam 投影机单手掌控的设计,而且在此基础上进一步瘦身,便携性和便利性均得以提升。之前投影时代网也率先发布了PH550产品外观美图,今日,…详情>>
明基鹰眼微投i300J以出色的成像系统、严谨、科学的色彩校准,带来符合D65色彩标准的色彩表现,为用户还原真实色彩,饱览纯真之美!除此之外,丰富的娱乐应用、以及随心观看的海量视频库,好玩根本停不下来!…详情>>
倘若观影环境只限定在同一个地方,这是100%不科学的;因此,如果说影院是件文化衫,光峰根据适用环境给出了三个size的解决方案。…详情>>
美高(公司)为苹果iphone6手机开发的专用微型投影仪上市了,为了大家更好的使用这款iphone6手机微型投影仪,就这款手机微型投影仪的九大经典应用一一介绍。…详情>>
从这份专利内容来看,首先三星希望能够通过智能手表来对周围事物的形状进行扫描,然后通过内部的投影装置在周围现有情况下进行投影。简单的说就是可以在用户的手背、手腕甚至是小臂上进行投影,并且还能够进行虚拟触控式操作。从专利给出的图示来看,包括了键盘、地图导航等。同时菜单还可以顺着用户的手臂或者手指不断延长。…详情>>
孩子是我们的未来,是国家的希望,KUPA多年来一直致力于研究教育解决方案,具有多年的教育行业应用解决经验,这次结合幼教新形势所带来的互动教学,未来教室,沉浸式体验教学在现场收到了很好的反馈效果,期待KUPA给我们带来更多惊喜…详情>>
2016 TI DLP创新应用研讨会今天在上海火热举行,本次研讨会开设了微型188bet注册官网 专场和工业应用(3D机器视觉及3D打印)专场,联合行业分析专家和业内上下游的生态合作伙伴,向与会者分享市场趋势、创新应用以及解决方案。…详情>>
世界奇才乔布斯先生领衔苹果公司推出的苹果产品征服了亿万果粉,创造了世界奇迹。但乔布斯生前规划的苹果手机屏分享功能未在生前完成,很多果粉感到遗憾。为实现苹果手机的大屏分享功能,在微型投影仪行业以技术创新著称的美高光电公司,专门为苹果iphone6系列手机实现大屏分享功能,开发了一款iphone6系列手机专用微型投影仪:美高G6微型投影机…详情>>
女朋友的生日买什么礼物?买过戒指,嫌土;买过LV包,嫌贵;买过化妆品,嫌俗。今年下定决心,一定要给她买个逞心的生日礼品。网上搜索了一通,最后买了美高G6苹果iphone6手机专用微型投影仪,小微使用快一周了,非常满意,夸我送了她一个时尚、实用的生日礼品。我感到iphone6这个生日礼品买对了。…详情>>
近日,从台湾媒体获知,尽管全球投影机市场成长渐趋缓和,德州仪器(TI)表示,2016年Pico(微型)投影机市场热潮将次序延烧,除了国内移动工作人员的市场需求外,也将看到白色家电市场、电竞市场等等市场的崛起,将使得2016年微型投影机市场成长近3成左右。…详情>>
美高(MEGO)公司是一家在微型投影仪行业中以技术创新著称的公司。2016该公司再次推出震撼新品,专门为苹果公司iphone6系列手机专用的微型投影仪:美高G6微型投影机上市。美高G6微型投影机镶嵌iphone6手机成为世界最智能的微型投影仪,室内投射30-100吋大屏,助苹果手机跨入超大屏分享时代…详情>>
台达旗下投影机品牌Vivitek(丽讯)在微投产品线上拥有较强实力,以“小身材、大智慧”为代表的QUMI系列已经成为了微投市场颇具代表性的系列产品,尤其是上市不久的QUMI Q6微投,时尚小巧、颜值爆表且功能强大,让你对母亲的感恩不止一种色彩。…详情>>
美高(MEGO)公司为苹果iphone6系列手机专门开发的专用微型投影仪:美高G6微型投影机,上市以来持续热销,线上线下抢购脱销。在目前市场状况下,电子产品出现这种持续热销的状况是很难见到的。仔细分析和体验这款产品,感到火才是必然。…详情>>
世界奇才乔布斯先生领衔苹果公司推出的苹果产品征服了亿万果粉,创造了世界奇迹。但乔布斯生前规划的苹果手机大屏分享功能未在生前完成,很多果粉感到遗憾。为实现苹果手机的大屏分享功能,在微型投影仪行业以技术创新著称的美高光电公司,专门为苹果iphone6系列手机开发了一款iphone6专用微型投影仪:美高G6微型投影机,开创了苹果手机的大屏分…详情>>
球最大的DLP微投影光机供应商广景视睿科技(iView)在2016年4月15日于深圳盛大举办了DLP创新应用高峰论坛,邀请了微投行业整个生态链的供应商及客户,为广大的微投爱好客户朋友提供了一个自由交流沟通的平台,是行业第一次开放式资源共享的盛会,意义重大!…详情>>
美高(MEGO)为苹果iphone6手机开发的专用微型投影仪上市,开创了苹果iphone6手机的百寸大屏时代。美高G6苹果iphone6手机专用微型投影仪随身携带,能为果粉们投出精彩生活。…详情>>
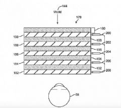
最近几天,《连线》(Wired)连续刊登数篇文章解读/揭秘了缔造VR领域前无古人的融资神话--神秘的高科技VR公司Magic Leap。这家公司在给我们诸多令人惊艳的科技展望同时也带来了大量疑问--这些技术在未来真的有可能成为现实吗?毕竟目前公司大部分项目都停留在概念阶段,因此很多人认为这些技术使用“魔法”来形容更贴切…详情>>
坚果智能影院将于本月29日在北京召开2016年首场“坚果智能影院新品发布会”。本站在获知该信息后第一时间向坚果营销总监安芯进行了确认,并得到了确切的答复,坚果智能影院新品发布会的确将于4月29日在北京朝阳区竞园举行…详情>>
持续深耕投影市场20年的明基,多年来在LED光源产品上一直持续着研发工作,通过多年的研究,2016年明基在市场上发布了一款具备1080P全高清高亮度LED微型投影机CH100,外加尊贵大气的外观设计,可以说它的上市,,在亮度和色彩画质上都可以成为LED新光源便携投影机的标杆!…详情>>
7 月 23 日,歌尔股份(证券代码:002241)发布关于筹划股权收购事项的提示性公告,宣布拟以自有或